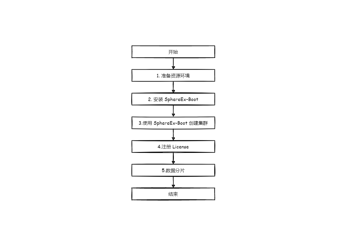
场景一:数据分片 #
此场景利用 SphereEx- Boot(管理 SphereEx- DBPlusEngine 集群的命令行工具)安装 SphereEx- DBPlusEngine 集群,通过 DistSQL 命令行方式快速实现数据分片。
数据分片场景仅限于本地快速构建一个 SphereEx- DBPlusEngine 集群,并连接 MySQL 数据库,实现数据分片的场景,不包含其他组件,以及数据库的安装。
操作步骤 #

准备资源环境 #
| 实例 | IP 地址 | 服务端口 | 备注 | |
|---|---|---|---|---|
| 1 | SphereEx-Boot | 127.0.0.1 | / | SphereEx- Boot 工具 |
| 2 | SphereEx-DBPlusEngine | 127.0.0.1 | 3308 | SphereEx-DBPlusEngine 集群 |
| 3 | ZooKeeper | 127.0.0.1 | 2181 | ZooKeeper |
| 4 | MySQL 8.0 | 127.0.0.1 | 13306 | 用于分片的数据库 (需提前准备) |
说明:操作时需要替换为实际环境中的 IP 地址、端口。
安装 SphereEx-Boot #
安装准备 #
安装 SphereEx-Boot 前,确保操作系统已经安装了如下软件:
sshpass 1.0.0+
Python 2.7 或者 Python 3.5+
pip 20.0.0+
安装 SphereEx-Boot #
- 执行如下命令,安装 SphereEx-Boot。
# pip install sphereex‑boot‑1.1.0.tar.gz
Processing ./sphereex‑boot‑1.1.0.tar.gz
Requirement already satisfied: ansible<=2.10.7,>=2.8.0 in /usr/lib/python2.7/site-packages (from sphereex-boot==1.1.0) (2.10.7)
······
Building wheel for sphereex-boot (setup.py) ... done
Created wheel for spex: filename=sphereex_boot-1.1.0-py2-none-any.whl size=212249 sha256=5de4a3b4f347da57697ad942f74284be38ecf12e5e0d1fefda06e5e4282c22eb
Stored in directory: /root/.cache/pip/wheels/e5/c4/d7/64a96c1f48ffabc68df6aa164beb7a93a1ad4d81aba4b751d7
Successfully built sphereex-boot
Installing collected packages: sphereex-boot
Successfully installed sphereex‑boot‑1.1.0
查看 SphereEx-Boot 安装结果 #
执行命令查看 SphereEx-Boot 版本,如果输出的版本为当前安装的版本,说明安装成功。
# spex --version
Version 1.1.0
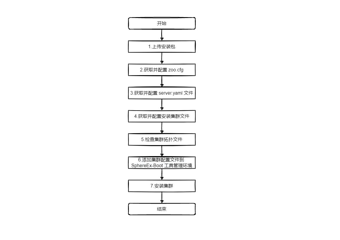
使用 SphereEx-Boot 创建集群 #
本章节介绍使用 SphereEx-Boot 如何快速创建 SphereEx- DBPlusEngine 集群。
操作步骤 #

安装集群 #
- 集群规划
| 集群名称 | IP 地址 | 账号 | 密码 |
|---|---|---|---|
| demo | 127.0.0.1 | root | root |
说明:操作时需要替换为自己的 IP 地址、登录账号和密码。
- 上传安装包
- 使用 MySQL
将 mysql-connector-java-8.jar、sphereex-dbplusengine-proxy-1.2.0.tar.gz 、apache-zookeeper-3.7.0-bin.tar.gz 安装包上传至 /root/demo 路径下。
说明:此处实际的安装包名称,会按照版本变化有所改变,按照实际情况上传相应的安装包即可。
# mkdir -p /root/demo
# cd /root/demo
# ll
mysql-connector-java-8.jar
sphereex-dbplusengine-proxy-1.2.0.tar.gz
apache-zookeeper-3.7.0-bin.tar.gz
- 使用 PostgreSQL
使用任何 PostgreSQL 的客户端连接。如: psql -U root -h 127.0.0.1 -p 3308。
- 使用 openGauss
将以 org.opengauss 包名为前缀的 openGauss 的 JDBC 驱动程序复制至目录 /root/demo 路径下。
使用任何 openGauss 的客户端连接。如: gsql -U root -h 127.0.0.1 -p 3308。
- 获取并配置 zoo.cfg 文件
zoo.cfg 是 ZooKeeper 的配置文件,系统根据此配置文件中的信息,安装 Zookeeper 软件。
# tar -xzvf apache-zookeeper-3.7.0-bin.tar.gz
# cd apache-zookeeper-3.7.0-bin/conf
# cp zoo_sample.cfg /root/demo/zoo.cfg
# cd /root/demo
# ls zoo.cfg
zoo.cfg
配置 zoo.cfg 文件,将数据目录和端口参数值替换,其他参数保持默认。
# vi zoo.cfg
dataDir=/root/demo/zk
clientPort=2181
- 获取并配置 server.yaml 文件
需要获取 conf 文件,其中此步骤需要配置的是其中的 server.yaml 文件。
server.yaml 文件是 DBPlusEngine 集群的配置文件,其中包括 Zookeeper 的相关信息、集群用户的信息,以及事物相关设置等。
# tar -zxvf sphereex-dbplusengine-proxy-1.2.0.tar.gz
# cd sphereex-dbplusengine-proxy-1.2.0
# cp -r conf /root/demo/conf
# cd /root/demo
# ls conf/server.yaml
conf/server.yaml
配置 server.yaml 文件, 将以下参数的注释去掉。
# vi conf/server.yaml
mode:
type: Cluster
repository:
type: ZooKeeper
props:
namespace: governance_ds
server-lists: localhost:2181
retryIntervalMilliseconds: 500
timeToLiveSeconds: 60
maxRetries: 3
operationTimeoutMilliseconds: 500
rules:
- !AUTHORITY
users:
- user: root@%
password: root
- user: sharding
password: sharding
privilege:
type: ALL_PERMITTED
- !TRANSACTION
defaultType: XA
providerType: Atomikos
- 获取并配置安装集群文件
生成配置文件。
# spex config template --type full --output ./
# ls cluster-template.yaml
cluster-template.yaml
集群拓扑文件初始化,按照实际环境修改集群拓扑文件,修改信息如下:
# vi cluster-template.yaml
cluster_name: demo
install_user: root
install_password: 'root'
proxy:
version: '1.2.0'
install_dir: /root/demo/engine
conf_dir: /root/demo/conf
file: /root/demo/sphereex-dbplusengine-proxy-1.2.0.tar.gz
# agent_conf_file:
depend_files:
- /root/demo/mysql-connector-java-8.jar
port: 3308
servers:
- host: 127.0.0.1
zookeeper:
version: '3.7.0'
install_dir: /root/demo/zk
data_dir: /root/demo/zk
conf_file: /root/demo/zoo.cfg
file: /root/demo/apache-zookeeper-3.7.0-bin.tar.gz
port: 2181
servers:
- host: 127.0.0.1
myid: 1
- 检查集群拓扑文件
# spex config check -f cluster-template.yaml
Proxy: The host:127.0.0.1 port:3308 missing 'agent_conf_file' value //忽略此报错即可,此处不需要agent。
No error with ZooKeeper
- 添加集群配置文件到 SphereEx-Boot 工具管理环境
# spex config add -f cluster-template.yaml
Add cluster successfully
- 安装集群
# spex cluster install --name demo
check proxy install dir exist!
Completed......
create install directory
127.0.0.1:3308 => success
install proxy
127.0.0.1:3308 => success
copying shell file
127.0.0.1:3308 => success
copying config file
127.0.0.1:3308 => success
copying agent config file
skipped host:127.0.0.1 item:None
copying depend file
127.0.0.1:3308 => success
Completed......
Operation ZooKeeper
check ZooKeeper install dir exist!
Completed......
Operation ZooKeeper
create ZooKeeper install directory
127.0.0.1:2181 => success
create ZooKeeper data directory
127.0.0.1:2181 => success
install ZooKeeper
127.0.0.1:2181 => success
copy ZooKeeper config file
127.0.0.1:2181 => success
create myid
127.0.0.1:2181 => success
Completed......
启动集群 #
# spex cluster start --name demo
Operation ZooKeeper
start ZooKeeper
127.0.0.1:2181 => success
/usr/bin/java
Starting zookeeper ... STARTED
ZooKeeper JMX enabled by default
Using config: /root/demo/zk/apache-zookeeper-3.7.0-bin/bin/../conf/zoo.cfg
Completed......
start proxy
/usr/bin/java
we find java version: java8, full_version=1.8.0_322, full_path=/usr/bin/java
The port is 3308
The classpath is /root/demo/engine/sphereex-dbplusengine-proxy-1.2.0/conf:.:/root/demo/engine/sphereex-dbplusengine-proxy-1.2.0/lib/*:/root/demo/engine/sphereex-dbplusengine-proxy-1.2.0/ext-lib/*
main class org.apache.shardingsphere.proxy.Bootstrap 3308 /root/demo/engine/sphereex-dbplusengine-proxy-1.2.0/conf 0.0.0.0 false
Starting the SphereEx-DB-Plus-Engine ... PID: 10335
Please check the STDOUT file: /root/demo/engine/sphereex-dbplusengine-proxy-1.2.0/logs/stdout.log
Completed......
查看集群运行状态
# spex cluster status --name demo
proxy status
127.0.0.1:3308 => success
PID:10335 PORT:3308 %CPU:16.9 %MEM:0.2 START:14:09 TIME:0:01
Results summary
+-----------+------+------+------+------+-------+------+
| HOST | PORT | PID | %CPU | %MEM | START | TIME |
+-----------+------+------+------+------+-------+------+
| 127.0.0.1 | 3308 |10335 | 16.9 | 0.2 | 14:09 | 0:01 |
+-----------+------+------+-------+------+------+------+
Completed......
Operation ZooKeeper
ZooKeeper status
127.0.0.1:2181 => success
/usr/bin/java
Client port found: 2181. Client address: localhost. Client SSL: false.
Mode: standalone
ZooKeeper JMX enabled by default
Using config: /root/demo/zk/apache-zookeeper-3.7.0-bin/bin/../conf/zoo.cfg
Results summary
+-----------+------+------------------+
| HOST | PORT | STATUS |
+-----------+------+------------------+
| 127.0.0.1 | 2181 | Mode: standalone |
+-----------+------+------------------+
登录集群 #
本章节介绍如何连接已经创建好的集群
# mysql -uroot -p -P3308 -h127.0.0.1
Warning: Using a password on the command line interface can be insecure.
Welcome to the MySQL monitor. Commands end with ; or \g.
Your MySQL connection id is 4
Server version: 5.7.22 sphereex-dbplusengine-proxy-1.2.0
Copyright (c) 2000, 2021, Oracle and/or its affiliates. All rights reserved.
Oracle is a registered trademark of Oracle Corporation and/or its
affiliates. Other names may be trademarks of their respective
owners.
Type 'help;' or '\h' for help. Type '\c' to clear the current input statement.
mysql>
注册 License #
- 上传 License
将获得的 License 文件上传至默认的存储目录:/demo/conf。
# scp -r sphere.license root@10.10.10.1:/root/demo/conf
- 查看 License-key 内容。
# cat /root/demo/conf/sphere.license
Ic5OXgAAACMAAAACAAAACwAAAAxjcmVEaWdlc3RTSEEtNTEy
- 注册 License。
登录 SphereEx- DBPlusEngine 集群,注册 License。
# mysql -uroot -p -P3308 -h127.0.0.1
sql> REGISTER LICENSE '[Ic5OXgAAACMAAAACAAAACwAAAAxjcmVEaWdlc3RTSEEtNTEy]';
Query OK, 0 rows affected (1.29 sec)
- 查看 License 是否生效。
sql> SHOW LICENSE INFO;
| company_name | instance_count | resource_count | expiry_date | generation_data | status | license
| sphereextest | 8 | 8 | 2023-01-01 00:00:00 | 2022-09-08 18:00:00 | valid | Ic5OXgAAACMAAAACAAAACwAAAAxjcmVEaWdlc3RTSEEtNTEy
数据分片 #
本章节将介绍使用 DistSQL(命令工具)如何创建数据分片。也可以使用 SphereEx-Console(SphereEx 企业数据服务可视化平台) 实现数据分片功能。
操作步骤 #

创建分片 #
- 创建分布式数据库
a.创建数据源
登陆 MySQL 数据库: 127.0.0.1/13306, 创建数据库 test01 和 test02,如:
# mysql -uroot -proot -P13306 -h127.0.0.1
sql> CREATE DATABASE test01;
Query OK, 1 row affected (0.00 sec)
sql> CREATE DATABASE test02;
Query OK, 1 row affected (0.00 sec)
sql> SHOW DATABASES;
+--------------------+
| Database |
+--------------------+
| information_schema |
| mysql |
| performance_schema |
| sys |
| test01 |
| test02 |
+--------------------+
5 rows in set (0.01 sec)
b.创建逻辑库
登陆 Proxy
# mysql -uroot -proot -P3308 -h127.0.0.1
Welcome to the MySQL monitor. Commands end with ; or \g.
Your MySQL connection id is 37
Server version: 5.7.22 SphereEx-DBPlusEngine-Proxy 1.2.0 MySQL Community Server (GPL)
Copyright (c) 2000, 2021, Oracle and/or its affiliates.
Oracle is a registered trademark of Oracle Corporation and/or its
affiliates. Other names may be trademarks of their respective
owners.
Type 'help;' or '\h' for help. Type '\c' to clear the current input statement.
sql>
创建逻辑库
sql> CREATE DATABASE testdb;
Query OK, 0 rows affected (0.65 sec)
查看逻辑库
sql> SHOW DATABASES;
+--------------------+
| schema_name |
+--------------------+
| mysql |
| information_schema |
| performance_schema |
| sys |
| testdb |
+--------------------+
5 rows in set (0.00 sec)
c.添加数据源
切换至逻辑库 testdb
sql> USE testdb;
Database changed
添加数据源
sql> REGISTER STORAGE UNIT test01 (
-> HOST="127.0.0.1",
-> PORT=13306,
-> DB="test01",
-> USER="root",
-> PASSWORD="root"
-> ),test02 (
-> HOST="127.0.0.1",
-> PORT=13306,
-> DB="test02",
-> USER="root",
-> PASSWORD="root"
-> );
Query OK, 0 rows affected (0.09 sec)
d.查看数据源信息
sql> SHOW STORAGE UNITS\G
*************************** 1. row ***************************
name: test02
type: MySQL
host: 127.0.0.1
port: 13306
db: test02
connection_timeout_milliseconds: 30000
idle_timeout_milliseconds: 60000
max_lifetime_milliseconds: 2100000
max_pool_size: 50
min_pool_size: 1
read_only: false
other_attributes: {"dataSourceProperties":{"cacheServerConfiguration":"true","elideSetAutoCommits":"true","useServerPrepStmts":"true","cachePrepStmts":"true","useSSL":"false","rewriteBatchedStatements":"true","cacheResultSetMetadata":"false","useLocalSessionState":"true","maintainTimeStats":"false","prepStmtCacheSize":"8192","tinyInt1isBit":"false","prepStmtCacheSqlLimit":"2048","serverTimezone":"UTC","netTimeoutForStreamingResults":"0","zeroDateTimeBehavior":"round"},"healthCheckProperties":{},"initializationFailTimeout":1,"validationTimeout":5000,"leakDetectionThreshold":0,"registerMbeans":false,"allowPoolSuspension":false,"autoCommit":true,"isolateInternalQueries":false}
*************************** 2. row ***************************
name: test01
type: MySQL
host: 127.0.0.1
port: 13306
db: test01
connection_timeout_milliseconds: 30000
idle_timeout_milliseconds: 60000
max_lifetime_milliseconds: 2100000
max_pool_size: 50
min_pool_size: 1
read_only: false
other_attributes: {"dataSourceProperties":{"cacheServerConfiguration":"true","elideSetAutoCommits":"true","useServerPrepStmts":"true","cachePrepStmts":"true","useSSL":"false","rewriteBatchedStatements":"true","cacheResultSetMetadata":"false","useLocalSessionState":"true","maintainTimeStats":"false","prepStmtCacheSize":"8192","tinyInt1isBit":"false","prepStmtCacheSqlLimit":"2048","serverTimezone":"UTC","netTimeoutForStreamingResults":"0","zeroDateTimeBehavior":"round"},"healthCheckProperties":{},"initializationFailTimeout":1,"validationTimeout":5000,"leakDetectionThreshold":0,"registerMbeans":false,"allowPoolSuspension":false,"autoCommit":true,"isolateInternalQueries":false}
2 rows in set (0.00 sec)
至此,分布式数据库创建完成。
- 创建分片表规则
选择逻辑库
sql> USE testdb;
Database changed
创建数据分片规则
sql> CREATE SHARDING TABLE RULE t_user(
-> STORAGE_UNITS(test01,test02),
-> SHARDING_COLUMN=user_id,
-> TYPE(NAME="hash_mod",PROPERTIES("sharding-count"=4))
-> );
Query OK, 0 rows affected (0.07 sec)
查看数据分片规则
sql> SHOW SHARDING TABLE RULE t_user\G
*************************** 1. row ***************************
table: t_user
actual_data_nodes:
actual_data_sources: test01,test02
database_strategy_type:
database_sharding_column:
database_sharding_algorithm_type:
database_sharding_algorithm_props:
table_strategy_type: STANDARD
table_sharding_column: user_id
table_sharding_algorithm_type: hash_mod
table_sharding_algorithm_props: sharding-count=4
key_generate_column:
key_generator_type:
key_generator_props:
auditor_types:
allow_hint_disable:
1 row in set (0.01 sec)
- 创建表并插入数据
a.创建表
sql> CREATE TABLE `t_user` (
-> `user_id` int NOT NULL,
-> `order_id` int NOT NULL,
-> `status` varchar(45) DEFAULT NULL,
-> PRIMARY KEY (`user_id`)
-> );
Query OK, 0 rows affected (0.28 sec)
b.插入数据
sql> INSERT INTO t_user VALUES
-> (1,1,'active'),
-> (2,2,'active'),
-> (3,3,'active'),
-> (4,4,'active');
Query OK, 4 rows affected (0.10 sec)
c.预览分片信息
sql> PREVIEW SELECT * FROM t_user;
+------------------+---------------------------------------------------------+
| data_source_name | actual_sql |
+------------------+---------------------------------------------------------+
| test01 | SELECT * FROM t_user_0 UNION ALL SELECT * FROM t_user_2 |
| test02 | SELECT * FROM t_user_1 UNION ALL SELECT * FROM t_user_3 |
+------------------+---------------------------------------------------------+
2 rows in set (0.04 sec)
- 查看分片结果
登陆数据库 test01 ,查看实际分片数据
# mysql -uroot -proot -P13306 -h127.0.0.1
sql> use test01;
sql> select * from t_user_0;
+---------+----------+--------+
| user_id | order_id | status |
+---------+----------+--------+
| 4 | 4 | active |
+---------+----------+--------+
1 row in set (0.00 sec)
sql> select * from t_user_2;
+---------+----------+--------+
| user_id | order_id | status |
+---------+----------+--------+
| 2 | 2 | active |
+---------+----------+--------+
1 row in set (0.00 sec)
登陆数据库 test02 ,查看实际分片数据
sql> use test02;
sql> select * from t_user_1;
+---------+----------+--------+
| user_id | order_id | status |
+---------+----------+--------+
| 1 | 1 | active |
+---------+----------+--------+
1 row in set (0.00 sec)
sql> select * from t_user_3;
+---------+----------+--------+
| user_id | order_id | status |
+---------+----------+--------+
| 3 | 3 | active |
+---------+----------+--------+
1 row in set (0.00 sec)