TPC-C 基准测试 #
TPC-C 的测试场景模拟了在线电商的交易情况:
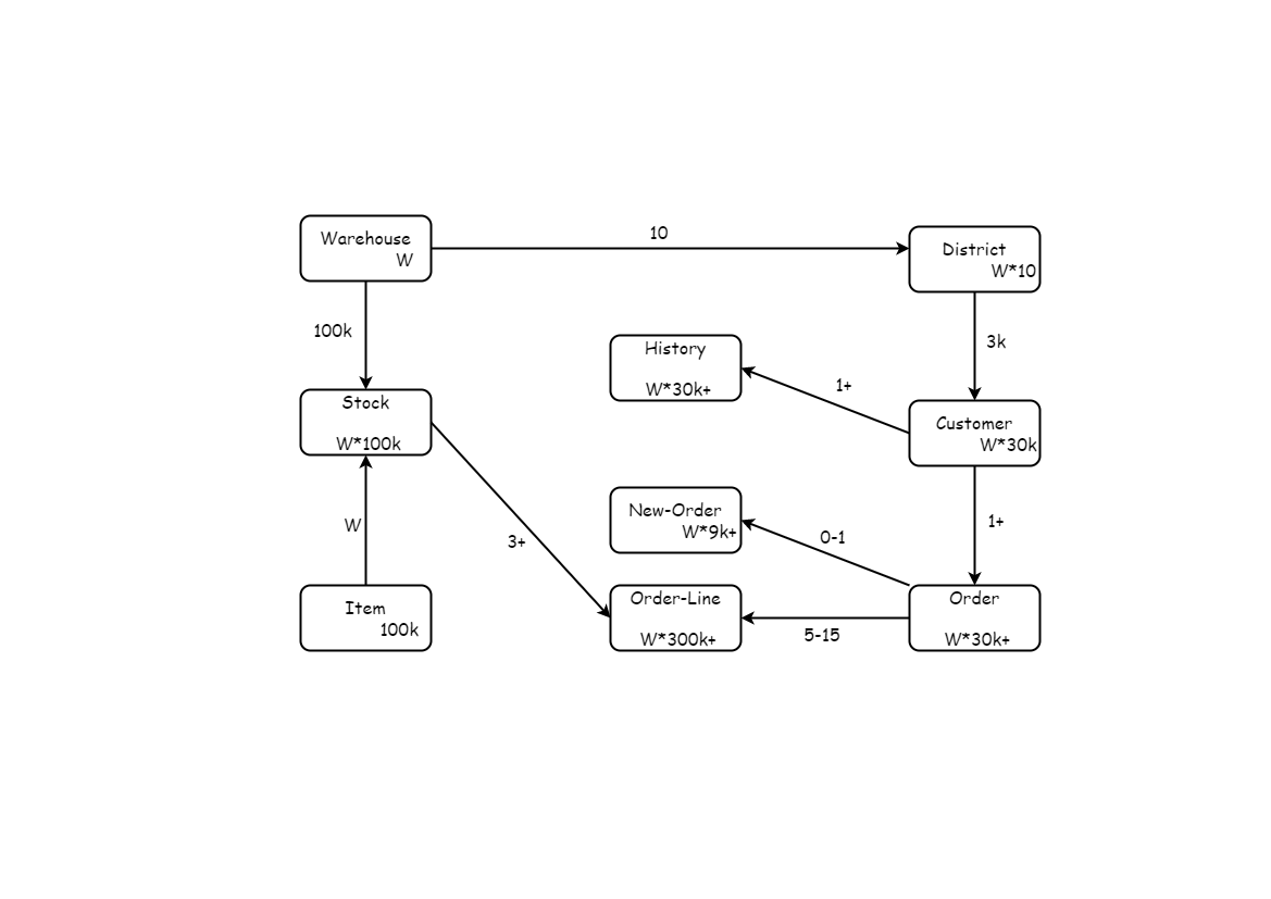
有一个大型商品批发商,在地理分布的多个 区域 (district) 有业务,并且使用仓库管理。当业务扩展的时候,公司将添加新的 仓库 (warehouse)。每个仓库负责为 10 个区域供货;每个区域为 3000 个 客户 (customer) 提供服务。所有仓库维护公司销售的 100,000 种 商品 (item) 的 库存 (stock) 记录。平均每个客户的一个 订单 (order) 有 10 个订单项 (order line);所有订单中约 1% 的订单项在其直接所属的仓库中没有存货,需要由其他区域的仓库来供货。
客户向公司的系统发出新的订单或者查询其订单状态。
公司的系统也用于处理客户的付款,处理发货的订单,检查库存状态以便发现潜在的供货短缺问题。
下图显示了 仓库 (warehouse),区域 (district) 和 客户 (customer) 间的关系。

测试方案一:单存储节点、单计算节点性能测试 #
选取 BenchmarkSQL 测试单存储节点下的 DBPlusEngine-Proxy、DBPlusEngine-Driver 与 MySQL 的性能对比。

测试目的 #
在相同数据量场景下,使用 BenchmarkSQL 压测模型分别对 DBPlusEngine-Proxy、DBPlusEngine-Driver 与 MySQL 进行性能对比,从而使用户对 DBPlusEngine-Proxy、DBPlusEngine-Driver 性能有详细的了解认识。
测试工具 #
BenchmarkSQL 是一款经典的开源数据库测试工具,内嵌了 TPC-C 测试脚本,可以对 PostgreSQL、MySQL、Oracle 以及 SQL Server 等数据库进行测试。
测试环境 #
| 应用 | IP地址 | 端口 | 版本 |
|---|---|---|---|
| DBPlusEngine-Proxy | 192.168.xx.25 | 3307 | 1.2 |
| DBPlusEngine-Driver | 192.168.xx.24 | - | 1.2 |
| MySQL | 192.168.xx.20 | 13306 | 8.0.29 |
服务器配置
| 条目 | 配置 |
|---|---|
| CPU | 48 C |
| 内存 | 96 G |
| 硬盘 | SSD 820 G |
| JDK | 17.0.2 |
测试步骤 #
- 创建测试库。
mysql -utest -h192.168.xx.20 -P13306 -p
DROP DATABASE IF EXISTS test_tpcc;
CREATE DATABASE IF NOT EXISTS test_tpcc;
- 安装测试工具。
wget https://udomain.dl.sourceforge.net/project/benchmarksql/benchmarksql-5.0.zip
yum -y install ant
unzip benchmarksql-5.0.zip -d /usr/local
cd /usr/local/benchmarksql-5.0
ant
cp mysql-connector-java-8.0.24.jar benchmarksql-5.0/run/lib
创建 props.proxy 文件。
db=postgres
driver=com.mysql.jdbc.Driver
conn=jdbc:mysql://192.168.xx.25:3307/sharding_db?useSSL=false&useServerPrepStmts=true&cachePrepStmts=true&prepStmtCacheSize=8192&prepStmtCacheSqlLimit=8000
user=root
password=root
warehouses=200
loadWorkers=100
terminals=200
runTxnsPerTerminal=0
runMins=10
limitTxnsPerMin=0
terminalWarehouseFixed=true
newOrderWeight=45
paymentWeight=43
orderStatusWeight=4
deliveryWeight=4
stockLevelWeight=4
resultDirectory=my_result_%tY-%tm-%td_%tH%tM%tS
shardingNumber=1
- YAML
rules:
- !SHARDING
bindingTables:
- bmsql_warehouse, bmsql_customer
- bmsql_stock, bmsql_district, bmsql_order_line
defaultDatabaseStrategy:
none:
defaultTableStrategy:
none:
keyGenerators:
snowflake:
type: SNOWFLAKE
tables:
bmsql_config:
actualDataNodes: ds_0.bmsql_config
bmsql_warehouse:
actualDataNodes: ds_${0..0}.bmsql_warehouse
databaseStrategy:
standard:
shardingColumn: w_id
shardingAlgorithmName: mod_1
bmsql_district:
actualDataNodes: ds_${0..0}.bmsql_district
databaseStrategy:
standard:
shardingColumn: d_w_id
shardingAlgorithmName: mod_1
bmsql_customer:
actualDataNodes: ds_${0..0}.bmsql_customer
databaseStrategy:
standard:
shardingColumn: c_w_id
shardingAlgorithmName: mod_1
bmsql_item:
actualDataNodes: ds_${0..0}.bmsql_item
databaseStrategy:
standard:
shardingColumn: i_id
shardingAlgorithmName: mod_1
bmsql_history:
actualDataNodes: ds_${0..0}.bmsql_history
databaseStrategy:
standard:
shardingColumn: h_w_id
shardingAlgorithmName: mod_1
bmsql_oorder:
actualDataNodes: ds_${0..0}.bmsql_oorder
databaseStrategy:
standard:
shardingColumn: o_w_id
shardingAlgorithmName: mod_1
bmsql_stock:
actualDataNodes: ds_${0..0}.bmsql_stock
databaseStrategy:
standard:
shardingColumn: s_w_id
shardingAlgorithmName: mod_1
bmsql_new_order:
actualDataNodes: ds_${0..0}.bmsql_new_order
databaseStrategy:
standard:
shardingColumn: no_w_id
shardingAlgorithmName: mod_1
bmsql_order_line:
actualDataNodes: ds_${0..0}.bmsql_order_line
databaseStrategy:
standard:
shardingColumn: ol_w_id
shardingAlgorithmName: mod_1
shardingAlgorithms:
mod_1:
type: MOD
props:
sharding-count: 1
- 数据准备。
数据库初始化,通过 Proxy 建表并插入数据。
cd /usr/local/benchmarksql/run
./runDatabaseDestroy.sh props.proxy
./runDatabaseBuild.sh props.proxy
- 压测阶段。
./runBenchmark.sh props.proxy
测试结果 #
| 测试对象 | tpmC |
|---|---|
| MySQL | 180,300 |
| DBPlusEngine-Proxy | 122,299 |
| DBPlusEngine-Driver | 175,392 |

结论:在单存储节点场景下, DBPlusEngine-Driver 略低于 MySQL,DBPlusEngine-Proxy 低于 DBPlusEngine-Driver。
监控信息 #
BenchmarkSQL ——> MySQL #
- MySQL

BenchmarkSQL ——> Proxy ——> MySQL #
- MySQL

- Proxy

BenchmarkSQL ——> Driver ——> MySQL #
- MySQL

- Driver

名词解释 #
warehouses:仓库数,决定数据量
terminals:线程数
runMins:测试执行时长
tpmC:每分钟处理事务数
测试方案二:存储节点扩容 #
使用 BenchmarkSQL 工具对 2/4 存储节点场景进行压测。

测试目的 #
在相同数据量下,使用 BenchmarkSQL 压测模型分别对 DBPlusEngine-Proxy 2/4 存储节点场景下进行对比,通过压测结果分析,使用户更加理解分片场景下优势。
测试工具 #
BenchmarkSQL
测试环境 #
| 应用 | IP地址 | 端口 | 版本 |
|---|---|---|---|
| DBPlusEngine-Proxy | 192.168.xx.25 | 3307 | 1.2 |
| MySQL | 192.168.xx.20 | 13306 | 8.0.29 |
| MySQL | 192.168.xx.21 | 13306 | 8.0.29 |
| MySQL | 192.168.xx.22 | 13306 | 8.0.29 |
| MySQL | 192.168.xx.23 | 13306 | 8.0.29 |
服务器配置
| 条目 | 配置 |
|---|---|
| CPU | 48 C |
| 内存 | 96 G |
| 硬盘 | SSD 820 G |
| JDK | 17.0.2 |
测试步骤 #
- 创建测试表。
mysql -utest -h192.168.xx.20 -P13306 -p
DROP DATABASE IF EXISTS test_tpcc;
CREATE DATABASE IF NOT EXISTS test_tpcc;
mysql -utest -h192.168.xx.21 -P13306 -p
DROP DATABASE IF EXISTS test_tpcc;
CREATE DATABASE IF NOT EXISTS test_tpcc;
mysql -utest -h192.168.xx.22 -P13306 -p
DROP DATABASE IF EXISTS test_tpcc;
CREATE DATABASE IF NOT EXISTS test_tpcc;
mysql -utest -h192.168.xx.23 -P13306 -p
DROP DATABASE IF EXISTS test_tpcc;
CREATE DATABASE IF NOT EXISTS test_tpcc;
- 安装测试工具。
wget https://udomain.dl.sourceforge.net/project/benchmarksql/benchmarksql-5.0.zip
yum -y install ant
unzip benchmarksql-5.0.zip -d /usr/local
cd /usr/local/benchmarksql-5.0
ant
cp mysql-connector-java-8.0.24.jar benchmarksql-5.0/run/lib
创建 props.proxy 文件。
db=postgres
driver=com.mysql.jdbc.Driver
conn=jdbc:mysql://192.168.xx.25:3307/sharding_db?useSSL=false&useServerPrepStmts=true&cachePrepStmts=true&prepStmtCacheSize=8192&prepStmtCacheSqlLimit=8000
user=root
password=root
warehouses=200
loadWorkers=100
terminals=200
runTxnsPerTerminal=0
runMins=10
limitTxnsPerMin=0
terminalWarehouseFixed=true
newOrderWeight=45
paymentWeight=43
orderStatusWeight=4
deliveryWeight=4
stockLevelWeight=4
resultDirectory=my_result_%tY-%tm-%td_%tH%tM%tS
shardingNumber=2
- YAML
rules:
- !SHARDING
bindingTables:
- bmsql_warehouse, bmsql_customer
- bmsql_stock, bmsql_district, bmsql_order_line
defaultDatabaseStrategy:
none:
defaultTableStrategy:
none:
keyGenerators:
snowflake:
type: SNOWFLAKE
tables:
bmsql_config:
actualDataNodes: ds_0.bmsql_config
bmsql_warehouse:
actualDataNodes: ds_${0..1}.bmsql_warehouse
databaseStrategy:
standard:
shardingColumn: w_id
shardingAlgorithmName: mod_2
bmsql_district:
actualDataNodes: ds_${0..1}.bmsql_district
databaseStrategy:
standard:
shardingColumn: d_w_id
shardingAlgorithmName: mod_2
bmsql_customer:
actualDataNodes: ds_${0..1}.bmsql_customer
databaseStrategy:
standard:
shardingColumn: c_w_id
shardingAlgorithmName: mod_2
bmsql_item:
actualDataNodes: ds_${0..1}.bmsql_item
databaseStrategy:
standard:
shardingColumn: i_id
shardingAlgorithmName: mod_2
bmsql_history:
actualDataNodes: ds_${0..1}.bmsql_history
databaseStrategy:
standard:
shardingColumn: h_w_id
shardingAlgorithmName: mod_2
bmsql_oorder:
actualDataNodes: ds_${0..1}.bmsql_oorder
databaseStrategy:
standard:
shardingColumn: o_w_id
shardingAlgorithmName: mod_2
bmsql_stock:
actualDataNodes: ds_${0..1}.bmsql_stock
databaseStrategy:
standard:
shardingColumn: s_w_id
shardingAlgorithmName: mod_2
bmsql_new_order:
actualDataNodes: ds_${0..1}.bmsql_new_order
databaseStrategy:
standard:
shardingColumn: no_w_id
shardingAlgorithmName: mod_2
bmsql_order_line:
actualDataNodes: ds_${0..1}.bmsql_order_line
databaseStrategy:
standard:
shardingColumn: ol_w_id
shardingAlgorithmName: mod_2
shardingAlgorithms:
mod_2:
type: MOD
props:
sharding-count: 2
- 数据准备。
数据库初始化,通过 Proxy 建表并插入数据。
cd /usr/local/benchmarksql/run
./runDatabaseDestroy.sh props.proxy
./runDatabaseBuild.sh props.proxy
- 压测阶段。
./runBenchmark.sh props.proxy
测试结果 #
| 测试对象 | 存储节点 AVG(CPU Load) | tpmC |
|---|---|---|
| DBPlusEngine-Proxy(1 存储节点) | 73% | 122,299 |
| DBPlusEngine-Proxy(2 存储节点) | 30% | 122,580 |
| DBPlusEngine-Proxy(4 存储节点) | 12.5% | 128,035 |

结论:在 「1 Proxy 节点 + 1 存储节点」的场景下,可以看到性能压测瓶颈在 Proxy 所在服务器 CPU。因此扩容存储节点带来的性能提升不明显;本实验中扩容存储节点带来的优势在于各个存储节点的 CPU 利用率下降。
该结论仅供参考,用户可以根据实际业务情况,实际场景进行测试。
监控信息 #
BenchmarkSQL ——> Proxy ——> MySQL(1) #
- MySQL

- Proxy

BenchmarkSQL ——> Proxy ——> MySQL(2) #
- MySQL(1)

- MySQL(2)

- Proxy

BenchmarkSQL ——> Proxy ——> MySQL(4) #
- MySQL(1)

- MySQL(2)

- MySQL(3)

- MySQL(4)

- Proxy

名词解释 #
warehouses:仓库数,决定数据量。
terminals:线程数。
runMins:测试执行时长。
tpmC:每分钟处理事务数。
测试方案三:计算节点扩容 #
使用 BenchmarkSQL 工具对 4 存储节点(1 计算节点、2 计算节点)场景进行压测。

测试目的 #
在相同数据量下,使用 BenchmarkSQL 压测模型分别对 1/2 计算节点 DBPlusEngine-Proxy 在 4 存储节点场景下进行对比,通过压测结果分析,使用户更加了解计算节点扩容的优势。
测试工具 #
BenchmarkSQL
测试环境 #
| 应用 | IP地址 | 端口 | 版本 |
|---|---|---|---|
| DBPlusEngine-Proxy | 192.168.xx.25 | 3307 | 1.2 |
| DBPlusEngine-Proxy | 192.168.xx.19 | 3307 | 1.2 |
| MySQL | 192.168.xx.20 | 13306 | 8.0.29 |
| MySQL | 192.168.xx.21 | 13306 | 8.0.29 |
| MySQL | 192.168.xx.22 | 13306 | 8.0.29 |
| MySQL | 192.168.xx.23 | 13306 | 8.0.29 |
服务器配置
| 条目 | 配置 |
|---|---|
| CPU | 48 C |
| 内存 | 96 G |
| 硬盘 | SSD 820 G |
| JDK | 17.0.2 |
测试步骤 #
- 创建测试表。
mysql -utest -h192.168.xx.20 -P13306 -p
DROP DATABASE IF EXISTS test_tpcc;
CREATE DATABASE IF NOT EXISTS test_tpcc;
mysql -utest -h192.168.xx.21 -P13306 -p
DROP DATABASE IF EXISTS test_tpcc;
CREATE DATABASE IF NOT EXISTS test_tpcc;
mysql -utest -h192.168.xx.22 -P13306 -p
DROP DATABASE IF EXISTS test_tpcc;
CREATE DATABASE IF NOT EXISTS test_tpcc;
mysql -utest -h192.168.xx.23 -P13306 -p
DROP DATABASE IF EXISTS test_tpcc;
CREATE DATABASE IF NOT EXISTS test_tpcc;
- 安装测试工具。
wget https://udomain.dl.sourceforge.net/project/benchmarksql/benchmarksql-5.0.zip
yum -y install ant
unzip benchmarksql-5.0.zip -d /usr/local
cd /usr/local/benchmarksql-5.0
ant
cp mysql-connector-java-8.0.24.jar benchmarksql-5.0/run/lib
创建 props.proxy 文件。
db=postgres
driver=com.mysql.jdbc.Driver
conn=jdbc:mysql://192.168.xx.25:3307/sharding_db?useSSL=false&useServerPrepStmts=true&cachePrepStmts=true&prepStmtCacheSize=8192&prepStmtCacheSqlLimit=8000
user=root
password=root
warehouses=200
loadWorkers=80
terminals=200
runTxnsPerTerminal=0
runMins=10
limitTxnsPerMin=0
terminalWarehouseFixed=true
newOrderWeight=45
paymentWeight=43
orderStatusWeight=4
deliveryWeight=4
stockLevelWeight=4
resultDirectory=my_result_%tY-%tm-%td_%tH%tM%tS
shardingNumber=4
connBalance=192.168.xx.25:3333,192.168.xx.19:3333
- YAML
rules:
- !SHARDING
bindingTables:
- bmsql_warehouse, bmsql_customer
- bmsql_stock, bmsql_district, bmsql_order_line
defaultDatabaseStrategy:
none:
defaultTableStrategy:
none:
keyGenerators:
snowflake:
type: SNOWFLAKE
tables:
bmsql_config:
actualDataNodes: ds_0.bmsql_config
bmsql_warehouse:
actualDataNodes: ds_${0..3}.bmsql_warehouse
databaseStrategy:
standard:
shardingColumn: w_id
shardingAlgorithmName: mod_4
bmsql_district:
actualDataNodes: ds_${0..3}.bmsql_district
databaseStrategy:
standard:
shardingColumn: d_w_id
shardingAlgorithmName: mod_4
bmsql_customer:
actualDataNodes: ds_${0..3}.bmsql_customer
databaseStrategy:
standard:
shardingColumn: c_w_id
shardingAlgorithmName: mod_4
bmsql_item:
actualDataNodes: ds_${0..3}.bmsql_item
databaseStrategy:
standard:
shardingColumn: i_id
shardingAlgorithmName: mod_4
bmsql_history:
actualDataNodes: ds_${0..3}.bmsql_history
databaseStrategy:
standard:
shardingColumn: h_w_id
shardingAlgorithmName: mod_4
bmsql_oorder:
actualDataNodes: ds_${0..3}.bmsql_oorder
databaseStrategy:
standard:
shardingColumn: o_w_id
shardingAlgorithmName: mod_4
bmsql_stock:
actualDataNodes: ds_${0..3}.bmsql_stock
databaseStrategy:
standard:
shardingColumn: s_w_id
shardingAlgorithmName: mod_4
bmsql_new_order:
actualDataNodes: ds_${0..3}.bmsql_new_order
databaseStrategy:
standard:
shardingColumn: no_w_id
shardingAlgorithmName: mod_4
bmsql_order_line:
actualDataNodes: ds_${0..3}.bmsql_order_line
databaseStrategy:
standard:
shardingColumn: ol_w_id
shardingAlgorithmName: mod_4
shardingAlgorithms:
mod_4:
type: MOD
props:
sharding-count: 4
- 数据准备。
数据库初始化,通过 Proxy 建表并插入数据。
cd /usr/local/benchmarksql/run
./runDatabaseDestroy.sh props.proxy
./runDatabaseBuild.sh props.proxy
- 压测阶段。
./runBenchmark.sh props.proxy
测试结果 #
| 测试对象 | tpmC | 存储节点 AVG(CPU Load) | 计算节点 AVG(CPU Load) |
|---|---|---|---|
| 4 存储节点 + 1 DBPlusEngine-Proxy | 128,035 | 12.5% | 98% |
| 4 存储节点 + 2 DBPlusEngine-Proxy | 244,837 | 28% | 78% |



结论:在此场景下扩容计算节点可以近线性提升整体吞吐量。
监控信息 #
BenchmarkSQL ——> Proxy ——> MySQL(4) #
- MySQL(1)

- MySQL(2)

- MySQL(3)

- MySQL(4)

- Proxy

BenchmarkSQL ——> Proxy(2) ——> MySQL(4) #
- MySQL(1)

- MySQL(2)

- MySQL(3)

- MySQL(4)

- Proxy(1)

- Proxy(2)

名词解释 #
warehouses:仓库数,决定数据量。
terminals:线程数。
runMins:测试执行时长。
tpmC:每分钟处理事务数。